Barreira Flutuante | Barreiras de Contenção NaturalTec
As Barreiras de Contenção NaturalTec também chamadas de Barreira Flutuante preservam a qualidade da água em hidroelétricas, rios, captações, lagoas de tratamento, lagos ornamentais, aquicultura e áreas de controle de poluição. Bloqueiam plantas aquáticas como aguapé, elódea, alface-d’água, lentilha-d’água e salvínea, além de reter lixo e resíduos flutuantes. Fáceis de instalar e manter, adaptam-se a diferentes projetos, garantindo eficiência no manejo e segurança dos usuários.
Em Lagos Ornamentais são utilizados para manter a aparência estética dos lagos e impedir que as plantas aquáticas flutuantes atrapalhem o uso dos lagos para lazer.
Em Represas evitam que as plantas aquáticas obstruam a navegação e interrompam o tráfego de embarcações.
Em Hidrelétricas são utilizadas para evitar que as plantas aquáticas flutuantes se acumulem nas áreas de captação de água, impedindo que elas interfiram na geração de energia.
No Controle de Poluição auxiliam a contenção do lixo e outros resíduos flutuantes em rios poluídos.
Em Tratamento de Esgoto em Lagoas ajudam no controle da proliferação de plantas aquáticas que podem interferir no tratamento do esgoto em lagoas.
Na Aquicultura promovem o isolamento e proteção de tanques de criação.
Em Sistemas de Captação de Água Potável, evitam a contaminação da água potável por plantas aquáticas, garantindo que a água seja segura para consumo humano.
![]() | Item | Descrição |
|---|---|---|
| Material | As barreiras geralmente são feitas de materiais resistentes à água e às intempéries. | |
| Flutuação | As barreiras são projetadas para flutuar na superfície da água, permitindo que sejam facilmente movidas ou reposicionadas conforme necessário. | |
| Forma | As barreiras flutuantes de contenção geralmente são lineares, porém flexíveis, para se adaptar ao ambiente onde serão implementadas. | |
| Acessórios | Podem incluir ancoragens, cordas e conectores que facilitam a instalação e movimentação. | |
| Durabilidade | Projetadas para resistir às condições adversas e ao tempo prolongado na água. | |
| Personalização | A SNatural oferece a possibilidade de personalizar o tamanho e formato conforme a necessidade do projeto. | |
![]() | Absorção | Absorve até 9x o peso do tecido. |
![]() | Instalação | Leve e de fácil instalação, transporte e armazenamento. |
Barreiras de Contenção em conformidade com CETESB
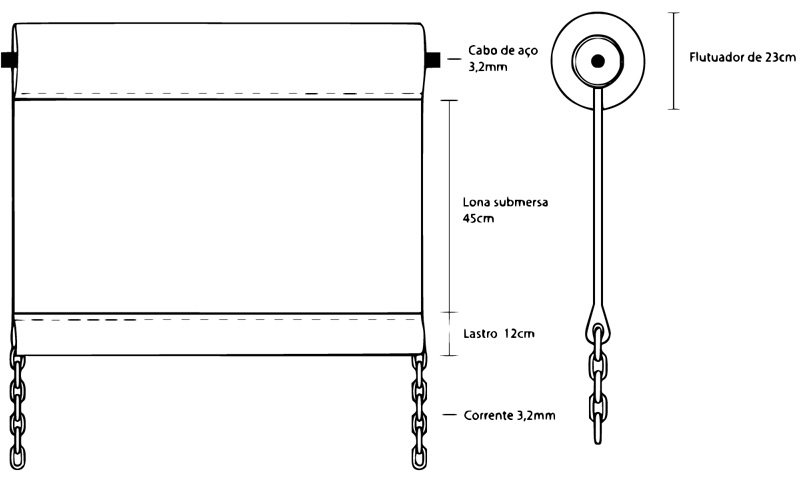
Fabricado com tecido de poliéster e polipropileno nas cores preta ou cinza, resistente à radiação ultravioleta, garantindo maior durabilidade e resistência ao sol. Flutuadores totalmente impermeáveis, garantindo a eficiência da barreira em ambientes aquáticos. Lastro com corrente galvanizada, proporcionando maior estabilidade e segurança na instalação. Embalagem própria para armazenamento e transporte, garantindo a segurança e facilidade no manuseio. Fornecida em lances personalizados, oferecendo flexibilidade para atender diferentes projetos e necessidades.
Modelos de Barreiras de Contenção NaturalTec
As barreiras de contenção NaturalTec são constituídas por flutuadores cilíndricos envolvidos por um resistente tecido de poliester. Os módulos são dispostos em sequência unidos por um cabo de aço e o conjunto, lastreado por uma corrente galvanizada.| Características | SNBar-01 | SNBar-02 |
|---|---|---|
| Seções | 1 a 30 m (ou sob medida) | 1 a 30 m (ou sob medida) |
| Material | Poliéster ou Polipropileno com corrente galvanizada | Poliéster ou Polipropileno com corrente galvanizada |
| Lastro | 3,2 mm | 3,2 mm |
| Cabo de Aço | 3,2 mm a 6,4 mm | 3,2 mm a 6,4 mm |
| Peso | Aprox. 900 g/m² | Aprox. 700 g/m² |
| Ruptura | A partir de aprox. 500 kg/f | A partir de aprox. 500 kg/f |
| Imagens | ![]() |

🏆 Case de Sucesso – Barreira Flutuante NaturalTec
Cliente: Mineradora ValeVerde Ambiental S.A. – Unidade de Tratamento de Efluentes Superficiais – Poços de Caldas/MG
Desafio: A unidade apresentava constante acúmulo de plantas aquáticas (aguapés e elódeas) e carreamento de resíduos oleosos nas áreas de drenagem próximas à represa de contenção, afetando o sistema de captação e a eficiência do tratamento biológico. As barreiras improvisadas utilizadas anteriormente — feitas com cordas e telas — mostravam baixa durabilidade, afundavam com o tempo e não suportavam variações de nível da lâmina d’água.
A necessidade era implementar uma solução durável, de fácil instalação e que permitisse tanto contenção física de resíduos quanto isolamento da área contaminada. Solução Implementada: A equipe técnica da NaturalTec indicou o uso das Barreiras Flutuantes de Contenção modelo SNB-02 (pesada), fabricadas em polietileno com proteção UV e reforço galvanizado, projetadas para suportar variações de nível e ventos superiores a 30 km/h.
O sistema foi implantado em trecho de 80 metros lineares, com ancoragem lateral e conexão modular conforme a norma CETESB L5.210.
Procedimento de Instalação:
- Montagem de módulos de 10 m cada, interligados por conectores galvanizados;
- Fixação com cabos de aço e flutuadores de polietileno;
- Tensionamento controlado e teste de flutuação;
- Inspeção de estanqueidade e resistência dos pontos de ancoragem.
Resultados Obtidos
Após 30 dias de operação contínua, os resultados técnicos e ambientais foram expressivos:
| Indicador | Antes da Instalação | Depois da Instalação (Barreira SNatural) |
|---|---|---|
| Contenção de resíduos superficiais | Parcial (60%) | Total (>95%) |
| Acúmulo de aguapés e lentilhas-d’água | Intenso | Reduzido em 90% |
| Tempo de manutenção mensal | 12 h/homem | 4 h/homem |
| Resistência mecânica | Fraca | Alta (sem rasgos após 3 meses) |
| Custo de reposição | Elevado | Redução de 50% |
| Interferência visual | Alta | Baixa – integração ao ambiente |
Benefícios Ambientais
- Controle efetivo da dispersão de contaminantes superficiais e plantas invasoras;
- Material biocompatível e resistente à radiação UV, ideal para uso prolongado;
- Redução de carga orgânica em efluentes e drenagens naturais;
- Instalação limpa, sem necessidade de obra civil;
- Conformidade com exigências da CETESB e da Resolução CONAMA 430/2011.
Depoimento do Cliente
“As barreiras da SNatural transformaram completamente o controle de resíduos na represa.
O sistema é prático, resistente e facilitou a limpeza da área de captação, reduzindo os custos de manutenção e evitando autuações ambientais.”— Eng. Fernando Ribeiro, Coordenador Ambiental – ValeVerde Ambiental
Conclusão
A Barreira Flutuante NaturalTec comprovou ser uma solução eficiente e sustentável para contenção de sólidos flutuantes, óleos e biomassa vegetal. Com resistência mecânica superior, proteção UV e instalação modular, o sistema garantiu durabilidade e desempenho operacional em ambientes industriais e naturais. Seu uso contínuo foi incorporado à rotina de manutenção da represa, integrando o plano de prevenção ambiental da unidade.
Referência Técnica
- Produto: Barreira Flutuante / Barreira de Contenção SNatural
- Aplicação: Contenção de sólidos, plantas aquáticas e óleo superficial
- Local: Poços de Caldas – MG (Represa de contenção industrial)
- Ano: 2023



